4-20ma Current receiver (PR55-5A) wiring and misc questions

I have a PR55-5A, and a mega modem to measure water level. My water level transducer requires 24v, and has 2 wires (red and black). I’m planning on powering my PR55-5A, and my transducer using 2x 12v batteries in a remote location without power available.
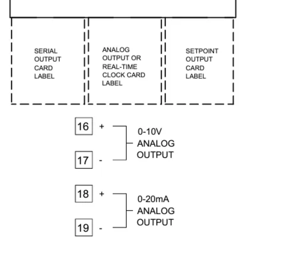
The NCD website says to connect my external power to the sensor in the following way:

Here are my questions:
1 - The M12 pigtail from NCD has a blue and brown wire coming out of it. My transducer sensor from china has a red and black wire. Which connection goes where?
2 - Is it possible to power the PR55-5A using 24v? I could swear I read 6-36v DC on the website before purchasing, but on the back of the device itself it says 4-12v DC. If I can’t power it using 24v, I’ll need to use a DC Buck converter to bring it down to 12v.
3 - If I have to buy a DC Buck converter, what what is the maximum amperage the PR55-5A will draw? I’m assuming a 1amp converter is plenty?
4 - When connecting the PR55-5A to an external power supply, should I remove the AA batteries?
5 - Is there anything I need to change when switching to external batteries with a barrel connector from internal batteries? I saw some old models required changing jumpers.
Here is a photo of the wires I’m working with.

Thanks!

  1. wiring can be found in manual
    https://ncd.io/industrial-iot-wireless-high-resolution-4-20ma-receiver-product-manual/?_ga=2.211385301.175351377.1666092354-2107108825.1658182495
  2. Yes, you can power using 24V. We recommend 12V( less stress on the internal power supply).
  3. max power draw will be 12V/100mA.
    4/5. no need to remove batteries. Use to onboard switch to select external power

I have the same issue with the M12 Connection (PR55-5) — cable, but I am planning on using a loop powered device.

I tried plugging in the blue + (18) and the brown - (19) but not getting any information in nodered. Am I missing some piece of the wiring?

Picture of the device wiring here:

reading of the information:
image

wiring is like this

Thanks, that wiring schematic seems different than what is in the manual? Or am I reading this incorrectly.

Otherwise, the mA or ADC reading doesn’t make sense for the scaling of output -100 to 500F (4-20ma).

adc1: 981
adc2: 666
mA1: 0.67
mA2: 0.46

I’m using this information - How to Convert 4-20mA Current Loop to Voltage/Digital Conversion - NCD.io

M12 Connection (PR55-5) —

Blue — 4-20mA +Ve

White — External Power Supply +ve

Brown — 4-20mA -Ve

Black — Ground

Gray — 16V Supply ( To power External Sensor)

M12 Connection (PR55-48)

Blue — 4-20mA +Ve

White — External Power Supply +ve

Brown — External Power Supply -ve

Black — Ground

Gray — 16V Supply ( Test Point)

based on your reading looks like device is not connected to any 4-20mA signal.

The wiring you are referring is for gen 1 devices and the one you have is gen 2.

Hi,

this is how i’m wired to the device with 18+ (top) white, and 19- (bottom) black and still not getting any reading.

I have the grey wired into the common terminal.

before we go into checking the device can you measure the mA output and see if its truly outputting a signal ?

I am getting some power without the device wires plugged in.’
As far as the switch inside, I have it ‘on batt’.

the housing is 2 channel 4-20ma current loop receiver, PR55-47_CR2

I plugged in using the black on +(18) and white on -(19), and getting a 1.4mA reading now, but still not the full signal.

do your 4-20mA provide loop voltage ?

Hi, yes it is supposed to be self powered. Unless I’m reading this incorrectly.

You should be able to measure voltage across the 4-20mA wires and see if there is any loop voltage

I’m getting about 12V across the terminals.

you should be connecting your device between white and black.

white +ve and Black -ve

I have reconnected using black to terminal 18 (+) and grey to terminal 19(-), brown to ground and now getting a reasonable temp reading of 8.5mA for my temp sensor reading 68.5F, scaling -100 to 500F.

Is there a way to get more decimals from the mA reading?